為方便游客的西藏日喀則出行,提供日喀則歷年的1月天氣預報數據供用戶參考,包括日喀則1月份的最高氣溫,最低氣溫,白天和晚上溫度,天氣狀況,及1月整月的風力風向。
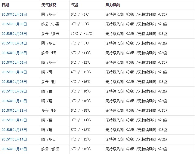
日喀則1月天氣預報統計表:


日喀則1月氣溫趨勢圖:

日喀則1月氣溫及晴雨表統計:

以上是日喀則1月份的天氣預報明細,含每日天氣溫度,1月當月氣溫趨勢圖,及1月氣溫和天氣統計表。
日喀則1月份天氣概況
日喀則一月平均溫度是-18℃ ~ 10℃,1月份的日喀則溫度與拉薩相差不大,清晨和傍晚會相對冷一些,建議減少這期間的活動。在日喀則,1月份的最高溫度可達到18攝氏度,溫暖的陽光讓拉薩和日喀則成為了西藏冬季旅游的不二選擇。在日喀則的街頭和當地藏族群眾一起,虔誠的轉經,在八廓街曬太陽,在甜茶館里與友人聚會聊天。這是藏族人民最愜意的生活,也是最適合西藏的旅行方式。
一月份去日喀則穿衣指南:
日喀則的冬天早晚氣溫較低,氣候寒冷,冬天去西藏需要做好保暖工作,建議帶上羽絨服、沖鋒衣、毛衣、毛褲等保暖性較好的衣服。晝夜的溫差比較大,白天有太陽,氣溫比較舒服,晚上寒氣逼人,就要厚衣加身了。在西藏比較容易感冒,在西藏感冒是比較麻煩的一件事情,所以大家一定要注意自己的身體。
白天平均 10℃ 建議穿套裝、夾衣、風衣、休閑裝、夾克衫、西裝、薄毛衣等保暖衣服。
夜間平均 -18℃ 建議穿棉衣、冬大衣、皮夾克、厚呢外套、呢帽、手套、羽絨服、裘皮大衣等厚重保暖衣服。
一月份日喀則游攻略:
1月份的日喀則相對要冷清很多,作為后藏中心,日喀則是很多游客去往珠峰大本營的中轉站。由于1月份珠峰大本營已經沒有了帳篷旅館,因此在日喀則住宿然后去珠峰大本營賞珠峰也成為了很多游客的選擇。從拉薩去日喀則會經過海拔5190米的崗巴拉山口,再次觀賞著名的圣湖羊卓雍錯,由于冬季納木錯經常大雪封路,因此羊卓雍錯幾乎成為了游客冬季去拉薩必去的景點。冬天的羊湖非常藍,更加純凈。風景雖好,可不要多做停留,尤其是羊湖的近湖觀景處,雖然羊湖水觸手可及,但風也是真的大,很多游客表示有時候會被吹的懷疑人生。下車之前請戴好帽子和圍巾防風,以免吹久之后頭暈頭疼,影響后面的行程。在羊湖參觀,防風是第一要緊的事情,在此處裹緊自己的衣物吧。
一月份去日喀則注意事項:
西藏的冬天氣候比較干燥,冬天去西藏需要做好皮膚的保濕工作,建議帶上唇膏、護手霜、潤膚油、面霜等護膚品,到了西藏建議多喝水多吃水果。冬天來西藏,不需要像在內地那樣天天洗澡,天天洗澡不但容易感冒,而且洗完澡皮膚更顯干燥,所以一洗完澡建議你就涂上保濕霜等潤膚用品。其實在西藏就算幾天不洗澡還是會覺得比較干爽。
冬天來西藏,主題之一就是曬太陽。但是大家在外享受溫暖的陽光時也要注意防曬,進藏前建議帶上防曬霜、太陽鏡、帽子等防曬用品,這樣就可以放心地享受西藏溫暖的陽光了。
冬天的西藏含氧量比夏季更少,冬天進藏發生高反的概率實際比夏季更高點,我們要做好抗高反工作(其實無論什么時候進藏抗高反工作都是不容忽視的)。進藏前的十天半個月可以提前喝些紅景天,出現高反時可以服用高原安。紅景天的作用主要是預防高原反應,高原安的作用主要是治療高原反應。
1月份去西藏,無論是從天氣還是溫度來說,都適合暢游日喀則。在大家的普遍認知里,西藏的冬天很冷很冷,尤其1月份是最冷的季節,大家會認為1月份的西藏是極寒的,不適合長期生活的,其實不然。西藏的冬天很暖和,只是晝夜溫差大,晚上確實會相對冷一些,但西藏的住宿地晚上均有取暖設施,睡覺時候不會太冷,而白天有陽光的庇護,也不會覺得極寒。
在日喀則,1月份的最高溫度可達到18攝氏度,這一溫度遠遠超過了同一緯度的成都和上海。溫暖的陽光讓拉薩和日喀則成為了西藏冬季旅游的不二選擇。在日喀則的街頭和當地藏族群眾一起,虔誠的轉經,在八廓街曬太陽,在甜茶館里與友人聚會聊天。這是藏族人民最愜意的生活,也是最適合西藏的旅行方式。西藏旅游有很多種,有的人追求生活體驗,有的人想感受藏族的傳統文化與藝術,有的人為了虔誠的宗教信仰而來,有的人為了巍峨的珠穆朗瑪和圣湖而來,無論哪一種,在西藏都可以找到獨特的方式來實現。1月份是西藏的旅游淡季,游客少,參觀寺廟少排隊,瞻仰珠峰見真容,如果你不喜歡擁擠的人潮和喧囂的環境,記得1月份去西藏。



